Contents
AMGO 407-P Four Post Parking Lift

Product Information
- Product Name: 407-P Parking Lift
- Lifting Capacity: 7,000 lbs
- Hidden locking device and manual single-point safety lock release
- Commercial double safety locks for additional safety
- Double-shaped columns for increased strength
- Non-slip platform
- Optional parts available: plastic drip trays, jack tray, caster kits
- Flexible Design: power side column can be installed at any corner
- Warranty: AMGO 5-3-2 Warranty
Product Usage Instructions
- Ensure that the product is placed on a level surface and is stable.
- Before using the parking lift, make sure the hidden locking device is engaged and the double safety locks are properly engaged.
- To release the safety locks, locate the manual single-point lock release and follow the instructions provided in the user manual.
- Position your vehicle on the non-slip platform of the parking lift.
- Make sure the vehicle is centered and aligned with the lift.
- Use the controls to raise the lift to the desired height. The maximum lifting height is determined by the specifications mentioned in the user manual.
- Once the vehicle is lifted to the desired height, ensure that it is secure and stable before performing any maintenance or repair work.
- To lower the lift, use the controls to gradually lower it to the ground.
- After lowering the lift, ensure that the hidden locking device and double safety locks are engaged before removing the vehicle from the platform.
- Optional parts such as plastic drip trays, jack tray, and caster kits can be installed according to the provided instructions if desired.
Optional Accessories
- Caster Kits: Optional caster kits (Kit No: 40801) can be installed to help easily maneuver the parking lift. The set includes 4pcs.
- Aluminum Alloy Drive in Ramps: Optional drive in ramps made of aluminum alloy (Kit No: 40803) can be used. The weight for the set is 40 lbs (18 kg).
- Drip Trays: Optional drip trays (Kit No: 40806) are available in a set of 4pcs. The specifications are 36 5/8 * 23 5/8.
- Jack Tray: Optional jack tray (Kit No: 40808) can be installed.
- J5H Sliding Jack: Optional J5H sliding jack with hand pump is available. It includes 1.5 and 2.5 extension adapters and has a capacity of 5,000 lbs.
FEATURES
- 7,000 lbs lifting capacity
- ANGO exclusive hidden safety locks and manual single-point lock release Double- shaped columns for increased strength
- Non-slip platform
- Optional parts: plastic drip trays, jack tray, caster kits Flexible Design: power side column can be installed at any corner AGO 5-3.2 Warrants
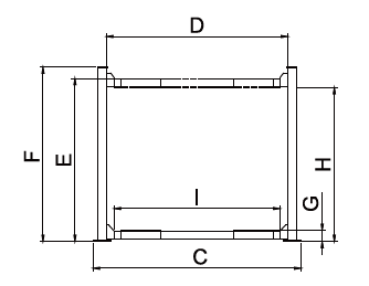
DIMENSION

EXCLUSIVE FEATURE
Double- shape column
SPECIFICATIONS
|
Model |
Lifting Capacity |
Lifting Time |
A | B | C | D | E | F | G | H | I | J | K |
Gross Weight |
Motor Power |
| Overall Length (Inc.Ramps) | Overall Length (No Inc.Ramps) | Overall Width | Width Between
Posts |
Max.Lifting Height | Overall Height | Minmum Height | Max. Underneath Height | Drive-Thru Clearance | Width Between
Runways |
Outside Edge of
Runways |
|||||
| 7,000lbs | 68S | 185 1/2″
(4712mm) |
152″
(3862mm)( |
98 3/4″
2509mm) |
85 3/8″
(2167mm) |
73 3/4″ (1872mm) | 82 7/8″ (2105mm) | 5 3/8″ (135mm) | 69 3/4″
(1772mm) |
77″ (1956mm) | 37″ (940mm) | 74 3/8″ (1890mm) (7 | 1,543lbs 00kg) | 1.0HP,110V
2.0HP,220V |
|
| 26S |
EXCLUSIVE FEATURES

- Hidden locking device and manual single-point safety lock release.
- Commercial double safety locks provide additional safety.
OPTIONAL PARTS

- Optional Caster Kits help easily maneuver the parking lift. one set 4pcs Kit No: 40801
- 90° installation plate for installing the power unit at the side of a column. Optional Kit No: 40802

- Optional Aluminum alloy drive-in ramps. The weight for the set is 40 lbs (18 kg). Kit No: 40803
- Optional Drip Trays one set 4pcs. Kit No.: 40806. Specifications 36 5/8″ * 23 5/8″

- Optional Jack Tray Kit No.:40808
- Optional J5H sliding jack with hand pump. 1.5″ and 2.5″ extension adapters included. Capacity 5,000lbs.
AMGO HYDRAULIC CORPORATION 1931 Joe Rogers Jr Bivd, Manning, SC 29102, USA
Tel: (803)505-6410
www.amgohyd.com
