AGAIN FASTER AF-BUMPER-TREE Bumper Tree

Contents
OVERVIEW
Congratulations on your new Again Faster Bumper Tree!
The Again Faster Bumper Tree Storage Rack sets the standard for storing a lot of gear in a small amount of space. This versatile unit not only holds up to 1,650lbs of bumpers, but also allows you to store two barbells vertically, making it the perfect storage solution for both affiliates and home gyms.
WARNING
Serious or fatal crushing injuries can occur from equipment tip-over. To prevent this stand from tipping over, it must be permanently fixed to the floor.
Additional, the tree should be loaded from the ground to the top, with heavier weight on the lowest pegs and lightest weight on the highest pegs.
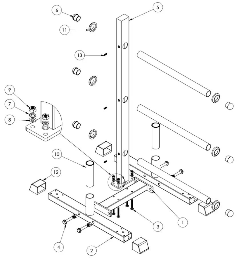
WHAT’S INCLUDED
| ITEM NUMBER | ITEM DESCRIPTION | QUANTITY |
| 1 | Base Center | 1 |
| 2 | Base Tube | 2 |
| 3 | M10 Carraiage Bolts | 4 |
| 4 | Nut/Bolt Set | 4 |
| 5 | Center Upright Post | 1 |
| 6 | Black High Strength Plastic Pipe Cap | 6 |
| 7 | M10 Split Lock Washer | 4 |
| 8 | M10 Flat Washer | 4 |
| 9 | M10 Hex Nut | 4 |
| 10 | Black High Strength Plastic Pipe Insert | 2 |
| 11 | Black Rubber Bumper Gasket | 6 |
| 12 | Rubber Foot End Cap | 4 |
| 13 | M8 Set Screw | 3 |
WHAT YOU’LL NEED
Assembly of this squat stand is straight forward. But it’s always easier when you have a friend to help. So call a buddy who owes you a favor and get to work.
- TWO PEOPLE

- 19MM RATCHET

- 19MM WRENCH

ASSEMBLY
Assembly product as shown below.
IMPORTANT: DO NOT TIGHTEN BOLTS UNTIL ASSEMBLY IS COMPLETE. THEN TIGHTEN EACH BOLT.

COMPLETE
Congrats! Your assembly is complete.
IMPORTANT:
CHECK TO MAKE SURE BOLTS ARE TIGHTENED BEFORE EVERY USE
Customer Support
Again Faster Equipment • [email protected] • 877-763-8775
