ACME XA 500 BSW Solar Wind Moving Head User Manual

Contents
Safety Instructions
WARNING
Please read the instruction carefully which includes important information about the installation, usage and maintenance.
Please keep this User Guide for future consultation. If you sell the unit to another user, be sure that they also receive this instruction manual.
Important:
Damages caused by the disregard of this user manual are not subject to warranty. The dealer will not accept liability for any resulting defects or problems.
- Unpack and check carefully to ensure that there is no transportation damage before using the unit.
- This product is for indoor use only. Use only in a dry location.
- DO install and operate by qualified operator.
- DO NOT allow children to operate the fixture.
- Use safety chain when fixing the unit. Handle the unit by carrying its base instead of head only.
- The unit must be installed in a location with adequate ventilation, at least 50cm from adjacent surfaces.
- Be sure that no ventilation slots is blocked, otherwise the unit will be overheated.
- Before operation, ensure that you are connecting this product to the proper voltage in accordance with the specifications in this manual or on the product’s specification label.
- It’s important to ground the yellow/green conductor to earth in order to avoid electric shock.
- Minimum ambient temperature TA: 0℃. Maximum ambient temperature TA: 40℃. Do not operate this product at a lower or higher temperature.
- DO NOT connect the device to any dimmer pack.
- Keep flammable materials away from the fixture while operating to avoid fire hazard.
- Make sure the power cord is not crimped or damaged; replace it immediately if damaged.
- Unit’s surface temperature may reach up to 65℃. DO NOT touch the housing bare-handed during its operation.
- Avoid any flammable liquids, water or metal from entering the unit. Once it happens, cut off the mains power immediately.
- DO NOT operate in a dirty or dusty environment. DO clean the fixture regularly.
- DO NOT touch any wire during operation as there might be a hazard of electric shock.
- Avoid entanglement of the power cord with other wires.
- The minimum distance to objects/surface must be more than 5 meters.
- Disconnect mains power before fuse replacement or servicing.
- Replace fuse only with the same type.
- In the event of serious operating problem, stop using the unit immediately.
- Never turn on and off the unit time after time.
- The housing, the lenses, or the ultraviolet filter must be replaced if they are visibly damaged.
- DO NOT open the housing as there are no user serviceable parts inside.
- DO NOT attempt to operate this unit if it becomes damaged. DO NOT attempt any repairs yourself. Repairs carried out by unskilled people can lead to damage or malfunction. Please contact the nearest authorized technical assistance center if needed.
- Disconnect this product from its power source before servicing.
- DO use the original packaging if the device is to be transported.
- Avoid direct eye exposure to the light source while the product is on.
- DO NOT operate this product if you see damage on the housing, shields, or cables. Have the damaged parts replaced by an authorized technician at once.
Technical Specifications
- Power Voltage:
100-240V~ 50/60Hz - Power Consumption:
665W - Light Source:
SUL500YN-85-R00 - Color Temperature:
7000K - Zoom Range:
3°-50° - Movement:
Pan: 540° Tilt: 270° Pan/Tilt Resolution: 16-bit Automatic pan/tilt position correction Fixation: pan/tilt lock - Dimmer/Shutter:
0-100% smooth dimming; outstanding strobe effect with variable speed - Color Wheel:
1 x color wheel with 6 fixed colors plus open - Gobo Wheel:
1 x static gobo wheel with 13 gobos plus open
1 x rotating gobo wheel with 7 gobos plus open, easy to replace - Control:
DMX Channel: 30/24 Channels Control Mode: DMX512, RDM, Art-Net, sACN Firmware Upgrade via DMX link or USB disk - Construction:
Display: LCD display
Data In/Out: 3-pin XLR (5-pin XLR is optional); RJ45
Power In/Out: Power Connector in/out
Protection Rating: IP20 - Features:
Motorized focus Linear CMY color mixing Variable CTO
1 x animation wheel which can rotate and be replaced
1 x 4-facet prism rotatable in either direction
1 x 6-facet prism rotatable in either direction
2 different frost filters to create and improve the wash effect. They can be used independently and overlayed - Dimension/Weight:
363.8×252.2×648.6, 26.5kgs
14.3″x9.9″x25.5″in, 58.4lbs

Photometric Diagram:

Control Panel

- DISPLAY: To show the various menus and the selected function
- Button:
MENU To enter into move backward or leave the menu
UPTo go backward to move up in the menu
DOWNTo go forward to move down in the menu ENTER To perform the desired functions - BATTERY DISPLAY
- FIRMWARE UPGRADE: Used to upgrade fixture’s firmware
- ETHERNET: Transfers fixture’s information to a main controller
- DMX IN:
For DMX512 link, use 3-pin XLR cable to link the unit and controller (5-pin XLR is optional) - DMX OUT:
For DMX512 operation, use 3-pin XLR cable to link the next units (5-pin XLR is optional) - POWER IN: To connect to supply power
- OWER OUT: To connect to the next fixture
- FUSE(T 10A): Protects the unit from damage of over current or short-circuit
Fixture Installation
DO install and operate by qualified operator. Fixture(s) should be installed in areas outside walking paths, seating areas, or away from areas were unauthorized personnel might reach the fixture by hand. NEVER stand directly below the fixture(s) when rigging, removing or servicing.
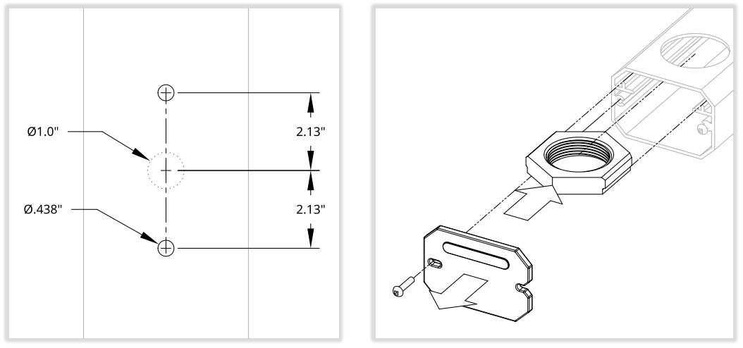
Always ensure that the unit is firmly fixed to avoid vibration and slipping off during operation. Ensure that the trussing or area of installation must be able to hold 10 times the weight without any deformation. Always attach a safety cable that can hold at least 12 times the weight of the fixture whenever installing this fixture in a suspended environment to ensure that the fixture will not fall if the clamp fails.
This fixture is fully operational in three different mounting positions: hanging upside down, mounted sideways on trussing, or set on a flat level surface. Always use and install the supplied safety cable as a safety measure to prevent accidental damage and/or injury in the event the clamp fails.


Effect Wheels

DANGER!
Install the rotating gobos with the device switched off only. Unplug from mains before changing the rotating gobos!
CAUTION: Never unscrew the screws of the rotating gobo as the ball bearing will otherwise be opened!
| R-Gobos | Part Number |
| ① Gobo1 | 3011001433 |
| ② Gobo2 | 3011001434 |
| ③ Gobo3 | 3011001435 |
| ④ Gobo4 | 3011001436 |
| ⑤ Gobo5 | 3011001437 |
| ⑥ Gobo6 | 3011001438 |
| ⑦ Gobo7 | 3015001171 |

Replacing Rotating Gobos
- Unplug the power and signal adapter cables at A and unscrew the four screws at B to take out the component;

- Unscrew the six screws at C to separate the color & gobo wheel component;

- Unscrew the screw at D and the nine screws at E, then remove the belts to take out the rotating gobo wheel component;

- Gently lift the gobo holder from the edge of the rotating gobo wheel (reverse side) as F shows and slowly pull it out

- Remove the spring lock at G with an appropriate tool like tweezers (if the gobo is coated with glass glue, do remove it with some good glass cleaning fluid before removing the spring lock to avoid damage to the gobo).

- Do not touch the surface of the gobo with bare fingers. The gobo has a small position point at its edge which has to aim at the position point on the gobo holder like H shows (glossy side towards the light source)

- Insert the gobo holder back into the rotating gobo wheel component in this way that its position point has to exactly aim at the center of the rotating gobo wheel.

- After installation, put the component back to the fixture.
How To Set The Unit
Main Function
Turn on the unit, press the MENU button into menu mode, and press the UP/DOWN button until the required function is shown on the monitor. Select the function by pressing the ENTER button.
Use the UP/DOWN button to choose the submenu, press the ENTER button to store and automatically return to the last menu. Press the MENU button or let the unit idle 30 seconds to exit menu mode.
The main functions are shown below:

DMX Settings
To select DMX Settings, press the ENTER button to confirm, use the UP/DOWN button to select DMX Address, DMX Channel Mode, No DMX Status, View DMX Value, Connect Option, Network, Art-Net Settings, sACN Settings or Artnet to DMX.
DMX Address
To select DMX Address, press the ENTER button to confirm. Use the UP/DOWN button to adjust the address from 001 to 483/489, press the ENTER button to store. Press the MENU button back to thelast menu or let the unit idle 30 seconds to exit menu mode.
DMX Channel Mode
To select DMX Channel Mode, press the ENTER button to confirm. Use the UP/DOWN button to select Mode1 (30) or Mode2 (24), press the ENTER button to store. Press the MENU button back to the last menu or let the unit idle 30 seconds to exit menu mode.
No DMX Status
To select No DMX Status, press the ENTER button to confirm. Use the UP/DOWN button to select Blackout(fixture blacks out if DMX signal stops), Hold(fixture continues to obey the last command it received Via DMX if DMX signal stops) or Manual(the fixture will automatically read the DMX value in the “Manual Test” menu for operation after selecting this mode), press the ENTER button to store.
Press the MENU button back to the last menu or let the unit idle 30 seconds to exit menu mode.
View DMX Value
To select View DMX Value, press the ENTER button to confirm. Use the UP/DOWN button to view the DMX channel value. Press the MENU button back to the last menu or let the unit idle 30 seconds to exit menu mode.
Connect Option
To select Connect Option, press the ENTER button to confirm. Use the UP/DOWN button to select Auto, DMX, Art-Net or sACN, press the ENTER button to store. Press the MENU button back to the last menu or let the unit idle 30 seconds to exit menu mode.
Network
To select Network, press the ENTER button to confirm. Use the UP/DOWN button to select IP Address or Subnet Mask, press the ENTER button to store. Press the MENU button back to the lastmenu or let the unit idle 30 seconds to exit menu mode.
Art-Net Settings
To select Art-Net Settings, press the ENTER button to confirm. Use the UP/DOWN button to select Net, Subnet or Universe, press the ENTER button to store. Press the MENU button back to the last menu or let the unit idle 30 seconds to exit menu mode.
sACN Settings
To select sACN Settings, press the ENTER button to confirm. Use the UP/DOWN button to select sACN Universe or sACN Priority, press the ENTER button to store. Press the MENU button back tothe last menu or let the unit idle 30 seconds to exit menu mode.
Artnet to DMX
To select Artnet to DMX, press the ENTER button to confirm. Use the UP/DOWN button to select No or Yes, press the ENTER button to store. Press the MENU button back to the last menu or let the unit idle 30 seconds to exit menu mode.
Fixture Settings
To select Fixture Settings, press the ENTER button to confirm, use the UP/DOWN button to select Pan Invert, Tilt Invert, P/T Feedback, Focus Compensate, Dimmer Speed, Dimmer Curve, Cooling Mode or LED Refresh Rate.
Pan Invert
To select Pan Invert, press the ENTER button to confirm. Use the UP/DOWN button to select No (normal) or Yes (pan invert), press the ENTER button to store. Press the MENU button back to the last menu or let the unit idle 30 seconds to exit menu mode.
Tilt Invert
To select Tilt Invert, press the ENTER button to confirm. Use the UP/DOWN button to select No (normal) or Yes (tilt invert), press the ENTER button to store. Press the MENU button back to the last menu or let the unit idle 30 seconds to exit menu mode.
P/T Feedback
To select P/T Feedback, press the ENTER button to confirm. Use the UP/DOWN button to select No (Pan or tilt’s position will not feedback while out of step) or Yes (Feedback while pan/tilt out of step),press the ENTER button to store. Press the MENU button back to the last menu or let the unit idle 30 seconds to exit menu mode.
Focus Compensate
To select Focus Compensate, press the ENTER button to confirm. Use the UP/DOWN button to select Disable, Near, Medium or Far, press the ENTER button to store. Press the MENU button back to the last menu or let the unit idle 30 seconds to exit menu mode.
Dimmer Speed
To select Dimmer Speed, press the ENTER button to confirm. Use the UP/DOWN button to select Fast or Smooth, press the ENTER button to store. Press the MENU button back to the last menu or let the unit idle 30 seconds to exit menu mode.
Dimmer Curve
To select Dimmer Curve, press the ENTER button to confirm. Use the DOWN/UP button to select Linear, Square Law, Inv SQ Law or S Curve, press the ENTER button to store. Press the MENU button back to the last menu or let the unit idle 30 seconds to exit menu mode.
Dimer Modes

Optically Linear: The increase in light intensity appears to be linear as DMX value is increased.
Square Law: Light intensity control is finer at low levels and coarser at high levels.
Inverse Square Law: Light intensity control is coarser at low levels and finger at high levels.
S-Curve: Light intensity control is finger at low levels and high levels and coarser atmedium levels
Cooling Mode
To select Cooling Mode, press the ENTER button to confirm. Use the UP/DOWN button to select Standard or Quiet, press the ENTER button to store. Press the MENU button back to the last menu or let the unit idle 30 seconds to exit menu mode.
LED Refresh Rate
To select LED Refresh Rate, press the ENTER button to confirm. Use the UP/DOWN button to select 900Hz, 1000Hz, 1100Hz, 1200Hz, 1300Hz, 1400Hz, 1500Hz, 2500Hz, 4000Hz, 5000Hz, 6000Hz, 10KHz, 15KHz, 20KHz or 25KHz, press the ENTER button to store. Press the MENU button back to the last menu or let the unit idle 30 seconds to exit menu mode.
Display Settings
To select Display Settings, press the ENTER button to confirm, use the UP/DOWN button to select Display Invert, Backlight Intensity, Temperature Unit or Language.
Display Invert
Select Display Invert, press the ENTER button to confirm. Use the UP/DOWN button to select No (normal display) or Yes (invert display), press the ENTER button to store. Press the MENU button back to the last menu or let the unit idle 30 seconds to exit menu mode.
Backlight Intensity
Select Backlight Intensity, press the ENTER button to confirm. Use the UP/DOWN button to adjust the backlight intensity from 1 (dark) to 10 (bright), press the ENTER button to store. Press the MENU button back to the last menu or let the unit idle 30 seconds to exit menu mode.
Temperature Unit
Select Temperature Unit, press the ENTER button to confirm. Use the UP/DOWN button to select ℃ or ℉, press the ENTER button to store. Press the MENU button back to the last menu or let the unit idle 30 seconds to exit menu mode.
Language
Select Language, press the ENTER button to confirm. Use the UP/DOWN button to select English or Chinese, press the ENTER button to store. Press the MENU button back to the last menu or let the unit idle 30 seconds to exit menu mode.
Fixture Test
To select Fixture Test, press the ENTER button to confirm, use the UP/DOWN button to select Auto Test or Manual Test.
Auto Test
Select Auto Test, press the ENTER button to confirm, the unit will run built-in programs to automatically test its functions. Press the MENU button back to the last menu or exit menu mode after auto test.
Manual Test
Select Manual Test, press the ENTER button to confirm, the present channel will show on the display, use the UP/DOWN button to select channel, press the ENTER button to confirm, then use the UP/DOWN button to adjust the value, press the ENTER button to store, the fixture will run as the channel value indicates. Press the MENU button back to the last menu or exit menu mode idling 30 seconds.
(The fixture will return to the previous DMX state after exiting Manual Test menu and the Manual Test parameters will be automatically saved after power off and restart.)
Fixture Information
To select Fixture Information, press the ENTER button to confirm, use the UP/DOWN button to select Fixture Use Hour, LED Use Hour, Temperature, Upgrade File, Fan State, Firmware Version, RDM UID or Error Logs.
Fixture Use Hour
Select Fixture Use Hour, press the ENTER button to confirm, fixture use hour will show on the display, press the MENU button to exit.
LED Use Hour
To select LED Use Hour, press the ENTER button to confirm, use the UP/DOWN button to select Total LED Hour, LED On Hour or LED Hours Reset, press the ENTER button to store. To select LED Hours Reset, press the ENTER button to confirm, use the UP/DOWN button to set the password 050 to reset the LED hours, press the ENTER button to store. Press the MENU button back to the last menu or exit menu mode let the unit idle 30 seconds.
Temperature
Select Temperature, press the ENTER button to confirm, LED’s current temperature and max temperature of the fixture will show on the display, press the MENU button to exit. Upgrade File Select Upgrade File, press the ENTER button to confirm, upgrade file will show on the display, pressthe MENU button back to exit.
Fan State
Select Fan State, press the ENTER button to confirm, fan state will show on the display, press the MENU button to exit.
Firmware Version
Select Firmware Version, press the ENTER button to confirm, firmware version will show on the display, press the MENU button back to exit.
RDM UID
Select RDM UID, press the ENTER button to confirm, RDM UID will show on the display, press the MENU button back to exit.
Error Logs
Select Error Logs, press the ENTER button to confirm. Use the UP/DOWN button to select Fixture Errors or Reset Error Log, press the ENTER button to store. Select Reset Error Log, press the ENTER button to confirm. Use the UP/DOWN button to select No or Yes, press the ENTER button to store. Select Yes, press the ENTER button to confirm. Use the UP/DOWN button to set the password 050, press the ENTER button to store. Press the MENU button back to the last menu or let the unit idle 30 seconds to exit menu mode.
Reset Function
To select Reset Function, press the ENTER button to confirm, use the UP/DOWN button to select Pan/Tilt Reset, Effect Reset or All Reset.
Pan/Tilt Reset
Select Pan/Tilt Reset, press the ENTER button to confirm, use the UP/DOWN button to select No(normal) or Yes (the unit will run built-in program to reset pan and tilt to their home positions), press ENTER button to store. Press the MENU button to exit.
Effect Reset
Select Effect Reset, press the ENTER button to confirm, use the UP/DOWN button to select No(normal) or Yes (the unit will run built-in program to reset effect to its home positions), press ENTER button to store. Press the MENU button to exit.
All Reset
Select All Reset, press the ENTER button to confirm, use the UP/DOWN button to select No(normal) or Yes (the unit will run built-in program to reset all motors to their home positions), press ENTER button to store. Press the MENU button to exit
Special Function
Factory Settings
Select Factory Settings, press the ENTER button to confirm, use the UP/DOWN button to select No(normal) or Yes (the fixture will reset to factory settings), press ENTER button to store. Press the MENU button to exit.
RDM FUNCTIONS
- Select the MANUFACTURER menu to display the manufacturer of the fixture.
- Select the SOFTWARE VERSION menu and the program version number of the fixture will be displayed.
- Select the DMX START ADDRESS menu to change the DMX 512 address (001 512).
- Select the DEVICE MODEL DESCRIPTION menu to display the model of the fixture.
- Select the DEVICE LABEL menu to change the model of the fixture.
- Select the DMX PERSONALITY menu to set the channel mode of the fixture (30/24 channel).
- Select the DMX PERSONALITY DESCRIPTION menu to display the current channel mode of the fixture.
- Select the DEVICE HOURS menu to display the running time of the fixture.
- Select the PAN INVERT menu and the fixture will run the pan invert mode.
- Select the TILT INVERT menu and the fixture will run the tilt invert mode.
- Select the RESET DEVICE menu, the WARM RESET/COLD RESET option will be displayed. When
- WARM RESET is selected, the fixture will start a warm reset, and exit when COLD RESET is selected.
Home Position Adjustment
Press the MENU button into menu mode, then press the ENTER button for about 3 seconds into offset mode to adjust the home position. Select the function by pressing the ENTER button. Use the UP/DOWN button to choose the submenu, press the ENTER button to store and automatically return to the last menu. Press MENU button to exit.

Frequency(Hz)
Enter offset mode, Select Frequency(Hz), press the ENTER button to confirm, the present position will blink on the display, use the UP/DOWN button to offset the value from 1072 to 1327, press the ENTER button to store. Press the MENU button to exit. (Attention: When the LED Refresh Rate selected in the main menu is different, the initial position of Frequency(Hz) will also change. For example, if the LED Refresh Rate is set to 900Hz in the main menu, the initial position algorithm of Frequency(Hz) is as follows: 900-128~900+127, that is, the initial position of Frequency(Hz) is 772~1027, and the initial position algorithm of other frequencies is the same.)
Dimming Start
Enter offset mode, select Dimming Start, press the ENTER button to confirm, the present position will blink on the display, use the UP/DOWN button to offset the value from 0 to 9999, press the ENTER button to store. Press the MENU button to exit.
Dim1 Offset
Enter offset mode, select Dim1 Offset, press the ENTER button to confirm, the present position will blink on the display, use the UP/DOWN button to offset the value from 0 to 999, press the ENTER button to store. Press the MENU button to exit.
Dim2 Offset
Enter offset mode, select Dim2 Offset, press the ENTER button to confirm, the present position will blink on the display, use the UP/DOWN button to offset the value from 0 to 999, press the ENTER button to store. Press the MENU button to exit.
Dim3 Offset
Enter offset mode, select Dim3 Offset, press the ENTER button to confirm, the present position will blink on the display, use the UP/DOWN button to offset the value from 0 to 999, press the ENTER button to store. Press the MENU button to exit.
Dim4 Offset
Enter offset mode, select Dim4 Offset, press the ENTER button to confirm, the present position will blink on the display, use the UP/DOWN button to offset the value from 0 to 999, press the ENTER button to store. Press the MENU button to exit.
Pan
Enter offset mode, select Pan, press the ENTER button to confirm, the present position will blink on the display, use the UP/DOWN button to offset the value from -128 to 127, press the ENTER button to store. Press the MENU button to exit.
Tilt
Enter offset mode, select Tilt, press the ENTER button to confirm, the present position will blink on the display, use the UP/DOWN button to offset the value from -128 to 127, press the ENTER buttonto store. Press the MENU button to exit.
Cyan
Enter offset mode, select Cyan, press the ENTER button to confirm, the present position will blink on the display, use the UP/DOWN button to offset the value from -128 to 127, press the ENTER button to store. Press the MENU button to exit.
Magenta
Enter offset mode, select Magenta, press the ENTER button to confirm, the present position will blink on the display, use the UP/DOWN button to offset the value from -128 to 127, press the ENTER button to store. Press the MENU button to exit.
Yellow
Enter offset mode, select Yellow, press the ENTER button to confirm, the present position will blink on the display, use the UP/DOWN button to offset the value from -128 to 127, press the ENTER button to store. Press the MENU button to exit.
CTO
Enter offset mode, select CTO, press the ENTER button to confirm, the present position will blink on the display, use the UP/DOWN button to offset the value from -128 to 127, press the ENTER button to store. Press the MENU button to exit.
Color
Enter offset mode, select Color, press the ENTER button to confirm, the present position will blink on the display, use the UP/DOWN button to offset the value from -128 to 127, press the ENTER button to store. Press the MENU button to exit.
Gobo1
Enter offset mode, select Gobo1, press the ENTER button to confirm, the present position will blink on the display, use the UP/DOWN button to offset the value from -128 to 127, press the ENTER button to store. Press the MENU button to exit.
R-Gobo1
Enter offset mode, select R-Gobo1, press the ENTER button to confirm, the present position will blink on the display, use the UP/DOWN button to offset the value from -128 to 127, press the ENTER button to store. Press the MENU button to exit.
Gobo2
Enter offset mode, select Gobo2, press the ENTER button to confirm, the present position will blink on the display, use the UP/DOWN button to offset the value from -128 to 127, press the ENTER button to store. Press the MENU button to exit.
R-Gobo2
Enter offset mode, select R-Gobo2, press the ENTER button to confirm, the present position will blink on the display, use the UP/DOWN button to offset the value from -128 to 127, press the ENTER button to store. Press the MENU button to exit.
Animation
Enter offset mode, select Animation, press the ENTER button to confirm, the present position will blink on the display, use the UP/DOWN button to offset the value from -128 to 127, press the ENTER button to store. Press the MENU button to exit.
Prism1
Enter offset mode, select Prism1, press the ENTER button to confirm, the present position will blink on the display, use the UP/DOWN button to offset the value from -128 to 127, press the ENTER button to store. Press the MENU button to exit.
R-Prism1
Enter offset mode, select R-Prism1, press the ENTER button to confirm, the present position will blink on the display, use the UP/DOWN button to offset the value from -128 to 127, press the ENTER button to store. Press the MENU button to exit.
Prism2
Enter offset mode, select Prism2, press the ENTER button to confirm, the present position will blink on the display, use the UP/DOWN button to offset the value from -128 to 127, press the ENTER button to store. Press the MENU button to exit.
R-Prism2
Enter offset mode, select R-Prism2, press the ENTER button to confirm, the present position will blink on the display, use the UP/DOWN button to offset the value from -128 to 127, press the ENTER button to store. Press the MENU button to exit.
Frost1
Enter offset mode, select Frost 1, press the ENTER button to confirm, the present position will blink on the display, use the UP/DOWN button to offset the value from -128 to 127, press the ENTER button to store. Press the MENU button to exit.
Frost2
Enter offset mode, select Frost 2, press the ENTER button to confirm, the present position will blink on the display, use the UP/DOWN button to offset the value from -128 to 127, press the ENTER button to store. Press the MENU button to exit.
Zoom
Enter offset mode, select Zoom, press the ENTER button to confirm, the present position will blink on the display, use the UP/DOWN button to offset the value from -128 to 127, press the ENTER button to store. Press the MENU button to exit.
Focus
Enter offset mode, select Focus, press the ENTER button to confirm, the present position will blink on the display, use the UP/DOWN button to offset the value from -128 to 127, press the ENTER button to store. Press the MENU button to exit
Control By Universal DMX Controller
DMX512 Connection

- At last unit, the DMX cable has to be terminated with a terminator. Solder a 120 ohm 1/4W resistor between pin 2(DMX-) and pin 3(DMX+) into a 3-pin XLR-plug and plug it in the DMX-output of the last unit.
- Connect the unit together in a “daisy chain” by XLR plug cable from the output of the unit to the input of the next unit. The cable can only be used in series and cannot be connected in parallel. DMX 512 is a very high-speed signal. Inadequate or damaged cables, soldered joints or corroded connectors can easily distort the signal and shut down the system.
- The DMX output and input connectors are pass-through to maintain the DMX circuit, when one of the units’ power is disconnected.
- Each lighting unit needs to have a DMX address to receive the data by the controller. The address number is between 1-512.
- The end of the DMX 512 system should be terminated to reduce signal errors.
- 3 pin XLR connectors are more popular than 5 pins XLR.
3 pin XLR: Pin 1: GND, Pin 2: Negative signal (-), Pin 3: Positive signal (+)
5 pin XLR: Pin 1: GND, Pin 2: Negative signal (-), Pin 3: Positive signal (+), Pin4, Pin5 not used.
Address Setting
If you use a universal DMX controller to control the units, you have to set DMX address from 1 to 512 so that the units can receive DMX signal.
Press the MENU button to enter menu mode, select DMX Settings, press the ENTER button to confirm, use the UP/DOWN button to select DMX Address, press the ENTER button to confirm, the present address will blink in the display, use the UP/DOWN button to adjust the address from 001 to 512, press the ENTER button to store. Press the MENU button back to the last menu or let the unit idle 30 seconds to exit menu mode.
Please refer to the following diagram to address your DMX512 channel for the first 4 units.
| Channel mode | Unit 1Address | Unit 2Address | Unit 3Address | Unit 4Address |
| 30 channels | 1 | 31 | 61 | 91 |
| 24 channels | 1 | 25 | 49 | 73 |
DMX512 Configuration
Please control the fixture by referring to the configurations below
Attentions:
- The unit will maintain the last condition until reset if you cut-off the DMX signal.
- For the channel Function, keep the value for about 3 seconds, then the corresponding function will take into effect.
30 Channels (Mode 1):
| CHANNEL | VALUE | FUNCTION |
| 1 | 000-255 | PAN
0°⭢540° |
| 2 | 000-255 | PAN FINE |
| 3 | 000-255 | TILT
0°⭢270° |
| 4 | 000-255 | TILT FINE |
| 5 | 000-255 | PAN/TILT SPEED
Fast to Slow |
| 6 | 000-255 | CYAN
0%⭢100% |
| 7 | 000-255 | MAGENTA
0%⭢100% |
| 8 | 000-255 | YELLOW
0%⭢100% |
| 9 | 000-255 | CTO
0%⭢100% |
| 10 | 000-007
008-016 017-025 026-034 035-043 044-052 053-063 064-127 128-189 190-193 194-255 |
COLOR
Open Color 1 Color 2 Color 3 Color 4 Color 5 Color 6 Color Wheel Indexing Counter-Clockwise Rotation, Fast to Slow Stop Clockwise Rotation, Slow to Fast |
| 11 | 000-007
008-015 016-023 024-031 032-039 040-047 048-055 056-063 064-072 073-081 082-090 091-099 100-108 109-117 118-127 128-189 190-193 194-255 |
GOBO 1
Open Gobo 1 Gobo 2 Gobo 3 Gobo 4 Gobo 5 Gobo 6 Gobo 7 Gobo 1 Shaking, Slow to Fast Gobo 2 Shaking, Slow to Fast Gobo 3 Shaking, Slow to Fast Gobo 4 Shaking, Slow to Fast Gobo 5 Shaking, Slow to Fast Gobo 6 Shaking, Slow to Fast Gobo 7 Shaking, Slow to Fast Counter-Clockwise Rotation, Fast to Slow Stop Clockwise Rotation, Slow to Fast |
| 12 | 000-127
128-189 190-193 194-255 |
R-GOBO 1
Index 0°⭢360° Counter-Clockwise Rotation, Fast to Slow Stop Clockwise Rotation, Slow to Fast |
| 13 | 000-255 | R-GOBO 1 FINE
0%⭢100% |
| 14 | 000-007 | GOBO 2
Open |
| 008-011
012-015 016-019 020-023 024-027 028-031 032-035 036-039 040-043 044-047 048-051 052-055 056-063 064-067 068-071 072-075 076-079 080-083 084-087 088-091 092-095 096-099 100-103 104-107 108-111 112-127 128-189 190-193 194-255 |
Gobo 1
Gobo 2 Gobo 3 Gobo 4 Gobo 5 Gobo 6 Gobo 7 Gobo 8 Gobo 9 Gobo 10 Gobo 11 Gobo 12 Gobo 13 Gobo 1 Shaking, Slow to Fast Gobo 2 Shaking, Slow to Fast Gobo 3 Shaking, Slow to Fast Gobo 4 Shaking, Slow to Fast Gobo 5 Shaking, Slow to Fast Gobo 6 Shaking, Slow to Fast Gobo 7 Shaking, Slow to Fast Gobo 8 Shaking, Slow to Fast Gobo 9 Shaking, Slow to Fast Gobo 10 Shaking, Slow to Fast Gobo 11 Shaking, Slow to Fast Gobo 12 Shaking, Slow to Fast Gobo 13 Shaking, Slow to Fast Clockwise Rotation, Fast to Slow Stop Counter-Clockwise Rotation, Slow to Fast |
|
| 15 |
000-007 008-129 130-133 134-255 |
ANIMATION
Open Clockwise Rotation, Fast to Slow Stop Counter-Clockwise Rotation, Slow to Fast |
| 16 |
000-007 008-255 |
PRISM 1 (4-facet prism)
Close Open |
| 17 |
000-127 128-189 190-193 194-255 |
R-PRISM 1
Index 0°⭢360° Counter-Clockwise Rotation, Fast to Slow Stop Clockwise Rotation, Slow to Fast |
| 18 | 000-007
008-255 |
PRISM 2 (6-facet prism)
Close Open |
| 19 | R-PRISM 2 | |
| 000-127
128-189 190-193 194-255 |
Index 0°⭢360°
Counter-Clockwise Rotation, Fast to Slow Stop Clockwise Rotation, Slow to Fast |
|
| 20 |
000-007 008-255 |
CRI
Close Open |
| 21 |
000-007 008-255 |
FROST 1
Close Open |
| 22 |
000-007 008-255 |
FROST 2
Close Open |
| 23 |
000-255 |
ZOOM
50°⭢3° |
| 24 | 000-255 | ZOOM FINE |
| 25 |
000-255 |
FOCUS
0%⭢100% |
| 26 | 000-255 | FOCUS FINE |
| 27 |
000-007 008-015 016-131 132-139 140-181 182-189 190-231 232-239 240-247 248-255 |
STROBE
Close Open Strobe from Slow to Fast Open Slow Open Fast Close Open Fast Open Slow Close Open Random Strobe Open |
| 28 |
000-255 |
DIMMER
0%⭢100% |
| 29 | 000-255 | DIMMER FINE |
| 30 |
000-009 010-019 020-029 030-039 040-049 050-059 060-069 070-079 080-089 090-099 |
SPECIAL FUNCTION
Null Null Null Dimmer Curve Linear Dimmer Curve Square Law Dimmer Curve Inv SQ Law Dimmer Curve S Cooling Mode: Standard Cooling Mode: Quiet Null |
| 100-109
110-119 120-122 123 124 125 126 127 128 129 130 131 132 133 134 135 136 137 138-139 140-149 150-159 160-169 170-179 180-189 190-199 200-209 210-219 220-229 230-239 240-245 246-251 252-255 |
Led Frequency Setting Enable Led Frequency Setting Disable Null 900Hz 1000Hz 1100Hz 1200Hz 1300Hz 1400Hz 1500Hz 2500Hz 4000Hz 5000Hz 6000Hz 10KHz 15KHz 20KHz 25KHz Null Pan/Tilt Reset Effect Reset Focus Compensate Disable Focus Compensate Near Focus Compensate Medium Focus Compensate Far Reset All Dimmer Speed Fast Dimmer Speed Smooth NullNull Null Null |
24 Channels (Mode 2):
| CHANNEL | VALUE | FUNCTION |
| 1 | 000-255 | PAN
0°⭢540° |
| 2 | 000-255 | TILT
0°⭢270° |
| 3 | 000-255 | PAN/TILT SPEED
Fast to Slow |
| 4 | 000-255 | CYAN
0%⭢100% |
| 5 | 000-255 | MAGENTA
0%⭢100% |
| 6 | 000-255 | YELLOW
0%⭢100% |
| 7 | 000-255 | CTO
0%⭢100% |
| 8 | 000-007
008-016 017-025 026-034 035-043 044-052 053-063 064-127 128-189 190-193 194-255 |
COLOR
Open Color 1 Color 2 Color 3 Color 4 Color 5 Color 6 Color Wheel Indexing Counter-Clockwise Rotation, Fast to Slow Stop Clockwise Rotation, Slow to Fast |
| 9 | 000-007
008-015 016-023 024-031 032-039 040-047 048-055 056-063 064-072 073-081 082-090 091-099 100-108 109-117 118-127 128-189 190-193 194-255 |
GOBO 1
Open Gobo 1 Gobo 2 Gobo 3 Gobo 4 Gobo 5 Gobo 6 Gobo 7 Gobo 1 Shaking, Slow to Fast Gobo 2 Shaking, Slow to Fast Gobo 3 Shaking, Slow to Fast Gobo 4 Shaking, Slow to Fast Gobo 5 Shaking, Slow to Fast Gobo 6 Shaking, Slow to Fast Gobo 7 Shaking, Slow to Fast Counter-Clockwise Rotation, Fast to Slow Stop Clockwise Rotation, Slow to Fast |
| 10 | 000-127
128-189 190-193 194-255 |
R-GOBO 1
Index 0°⭢360° Counter-Clockwise Rotation, Fast to Slow Stop Clockwise Rotation, Slow to Fast |
| 11 | 000-007
008-011 012-015 |
GOBO 2
Open Gobo 1 Gobo 2 |
| 016-019
020-023 024-027 028-031 032-035 036-039 040-043 044-047 048-051 052-055 056-063 064-067 068-071 072-075 076-079 080-083 084-087 088-091 092-095 096-099 100-103 104-107 108-111 112-127 128-189 190-193 194-255 |
Gobo 3
Gobo 4 Gobo 5 Gobo 6 Gobo 7 Gobo 8 Gobo 9 Gobo 10 Gobo 11 Gobo 12 Gobo 13 Gobo 1 Shaking, Slow to Fast Gobo 2 Shaking, Slow to Fast Gobo 3 Shaking, Slow to Fast Gobo 4 Shaking, Slow to Fast Gobo 5 Shaking, Slow to Fast Gobo 6 Shaking, Slow to Fast Gobo 7 Shaking, Slow to Fast Gobo 8 Shaking, Slow to Fast Gobo 9 Shaking, Slow to Fast Gobo 10 Shaking, Slow to Fast Gobo 11 Shaking, Slow to Fast Gobo 12 Shaking, Slow to Fast Gobo 13 Shaking, Slow to Fast Clockwise Rotation, Fast to Slow Stop Counter-Clockwise Rotation, Slow to Fast |
|
| 12 | 000-007
008-129 130-133 134-255 |
ANIMATION
Open Clockwise Rotation, Fast to Slow Stop Counter-Clockwise Rotation, Slow to Fast |
| 13 | 000-007
008-255 |
PRISM 1 (4-facet prism)
Close Open |
| 14 | 000-127
128-189 190-193 194-255 |
R-PRISM 1
Index 0°⭢360° Counter-Clockwise Rotation, Fast to Slow Stop Clockwise Rotation, Slow to Fast |
| 15 | 000-007
008-255 |
PRISM 2 (6-facet prism)
Close Open |
| 16 | 000-127
128-189 |
R-PRISM 2
Index 0°⭢360° Counter-Clockwise Rotation, Fast to Slow |
| 190-193
194-255 |
Stop
Clockwise Rotation, Slow to Fast |
|
| 17 | 000-007
008-255 |
CRI
Close Open |
| 18 | 000-007
008-255 |
FROST 1
Close Open |
| 19 | 000-007
008-255 |
FROST 2
Close Open |
| 20 | 000-255 | ZOOM
50°⭢3° |
| 21 | 000-255 | FOCUS
0%⭢100% |
| 22 | 000-007
008-015 016-131 132-139 140-181 182-189 190-231 232-239 240-247 248-255 |
STROBE
Close Open Strobe from Slow to Fast Open Slow Open Fast Close Open Fast Open Slow Close Open Random Strobe Open |
| 23 | 000-255 | DIMMER
0%⭢100% |
| 24 | 000-009
010-019 020-029 030-039 040-049 050-059 060-069 070-079 080-089 090-099 100-109 110-119 120-122 123 124 125 126 |
SPECIAL FUNCTION
Null Null Null Dimmer Curve Linear Dimmer Curve Square Law Dimmer Curve Inv SQ Law Dimmer Curve S Cooling Mode: Standard Cooling Mode: Quiet Null Led Frequency Setting Enable Led Frequency Setting Disable Null 900Hz 1000Hz 1100Hz 1200Hz |
| 127
128 129 130 131 132 133 134 135 136 137 138-139 140-149 150-159 160-169 170-179 180-189 190-199 200-209 210-219 220-229 230-239 240-245 246-251 252-255 |
1300Hz
1400Hz 1500Hz 2500Hz 4000Hz 5000Hz 6000Hz 10KHz 15KHz 20KHz 25KHz Null Pan/Tilt Reset Effect Reset Focus Compensate Disable Focus Compensate Near Focus Compensate Medium Focus Compensate Far Reset All Dimmer Speed Fast Dimmer Speed Smooth Null Null Null Null |
Error Information
Error codes are shown continuously in the display when the fixture fails and they will not disappear until the fixture is repaired.
- CPU-B/C/D/E/F Error
Check whether the 485 (DATA) leads on the PCB board are installed in place or disconnected.
Check whether the related 485 (DATA) signal circuit on the PCB board is damaged. - Pan Reset Error
Check whether the position of the pan where the magnet is installed falls off or is damaged.
Check whether there are obstacles in the pan operating range.
Check whether the Hall element on the pan is damaged.
Check whether the lead connecting the Hall element on the pan and the PCB board is in poor contact or disconnected.
Check whether the motor on the pan is damaged.
Check whether the related circuit of the motor drive board on the pan is damage. - Pan Encode Error
Check whether the encoder on the pan is damaged.
Check whether the lead connecting the encoder on the pan and the PCB board is in poor contact or disconnected. - Pan Encode Not Find
Check whether the lead connecting the encoder on the pan and the PCB board is in poor contact or disconnected. - Tilt Reset Error
Check whether the position of the tilt where the magnet is installed falls off or is damaged.
Check whether there are obstacles in the tilt operating range.
Check whether the Hall element on the tilt is damaged.
Check whether the lead connecting the Hall element on the tilt and the PCB board is in poorcontact or disconnected.
Check whether the motor on the tilt is damaged.
Check whether the related circuit of the motor drive board on the tilt is damage. - Tilt Encode Error
Check whether the encoder on the tilt is damaged.
Check whether the lead connecting the encoder on the tilt and the PCB board is in poor contact or disconnected. - Tilt Encode Not Find
Check whether the lead connecting the encoder on the tilt and the PCB board is in poor contact or disconnected. - Cyan Reset Error
Check whether the position of the cyan color wheel where the magnet is installed falls off or is damaged.
Check whether there are obstacles in the cyan color wheel operating range.
Check whether the Hall element on the cyan color wheel is damaged.
Check whether the lead connecting the Hall element on the cyan color wheel and the PCB board is in poor contact or disconnected.
Check whether the motor on the cyan color wheel is damaged.
Check whether the related circuit of the motor drive board on the cyan color wheel is damage. - Magenta Reset Error
Check whether the position of the magenta color wheel where the magnet is installed falls off or isdamaged.
Check whether there are obstacles in the magenta color wheel operating range.
Check whether the Hall element on the magenta color wheel is damaged.
Check whether the lead connecting the Hall element on the magenta color wheel and the PCB board is in poor contact or disconnected.
Check whether the motor on the magenta color wheel is damaged.
Check whether the related circuit of the motor drive board on the magenta color wheel is damage. - Yellow Reset Error
Check whether the position of the yellow color wheel where the magnet is installed falls off or is damaged.
Check whether there are obstacles in the yellow color wheel operating range.
Check whether the Hall element on the yellow color wheel is damaged.
Check whether the lead connecting the Hall element on the yellow color wheel and the PCB board is in poor contact or disconnected.
Check whether the motor on the yellow color wheel is damaged.
Check whether the related circuit of the motor drive board on the yellow color heel is damage. - Cto Reset Error
Check whether the position of the cto where the magnet is installed falls off or is damaged.
Check whether there are obstacles in the cto operating range.
Check whether the Hall element on the cto is damaged.
Check whether the lead connecting the Hall element on the cto and the PCB board is in poor contact or disconnected.
Check whether the motor on the cto is damaged.
Check whether the related circuit of the motor drive board on the cto is damage. - Color Reset Error
Check whether the position of the color wheel where the magnet is installed falls off or isdamaged.
Check whether there are obstacles in the color wheel operating range.
Check whether the Hall element on the color wheel is damaged.
Check whether the lead connecting the Hall element on the color wheel and the PCB board is in poor contact or disconnected.
Check whether the motor on the color wheel is damaged.
Check whether the related circuit of the motor drive board on the color wheel is damage. - Gobo1/2 Reset Error
Check whether the position of the gobo wheel1/2 where the magnet is installed falls off or is damaged.
Check whether there are obstacles in the gobo wheel1/2 operating range.
Check whether the Hall element on the gobo wheel1/2 is damaged.
Check whether the lead connecting the Hall element on the gobo wheel1/2 and the PCB board is in poor contact or disconnected.
Check whether the motor on the gobo wheel1/2 is damaged.
Check whether the related circuit of the motor drive board on the gobo wheel1/2 is damage. - R-Gobo1 Reset Error
Check whether the position of the gobo wheel1 where the magnet is installed falls off or is damaged.
Check whether there are obstacles in the gobo wheel1 operating range.
Check whether the Hall element on the gobo wheel1 is damaged.
Check whether the lead connecting the Hall element on the gobo wheel1 and the PCB board is in poor contact or disconnected.
Check whether the motor on the gobo wheel1 is damaged.
Check whether the related circuit of the motor drive board on the gobo wheel1 is damage. - Animation Reset Error
Check whether the position of the animation wheel where the magnet is installed falls off or is damaged.
Check whether there are obstacles in the animation wheel operating range.
Check whether the Hall element on the animation wheel is damaged.
Check whether the lead connecting the Hall element on the animation wheel and the PCB board is in poor contact or disconnected.
Check whether the motor on the animation wheel is damaged.
Check whether the related circuit of the motor drive board on the animation wheel is damage. - Prism1/2 Reset Error
Check whether the position of the prism1/2 where the magnet is installed falls off or is damaged.
Check whether there are obstacles in the prism1/2 operating range.
Check whether the Hall element on the prism1/2 is damaged.
Check whether the lead connecting the Hall element on the prism1/2 and the PCB board is in poor contact or disconnected.
Check whether the motor on the prism1/2 is damaged.
Check whether the related circuit of the motor drive board on the prism1/2 is damage. - R-Prism1/2 Reset Error
Check whether the position of the prism1/2 where the magnet is installed falls off or is damaged.
Check whether there are obstacles in the prism1/2 operating range.
Check whether the Hall element on the prism1/2 is damaged.
Check whether the lead connecting the Hall element on the prism1/2 and the PCB board is in poor contact or disconnected.
Check whether the motor on the prism1/2 is damaged.
Check whether the related circuit of the motor drive board on the prism1/2 is damage - Focus Reset Error
Check whether the position of the focus where the magnet is installed falls off or is damaged.
Check whether there are obstacles in the focus operating range.
Check whether the Hall element on the focus is damaged.
Check whether the lead connecting the Hall element on the focus and the PCB board is in poor contact or disconnected.
Check whether the motor on the focus is damaged.
Check whether the related circuit of the motor drive board on the focus is damage. - Zoom Reset Error
Check whether the position of the zoom where the magnet is installed falls off or is damaged.
Check whether there are obstacles in the zoom operating range.
Check whether the Hall element on the zoom is damaged.
Check whether the lead connecting the Hall element on the zoom and the PCB board is in poor contact or disconnected.
Check whether the motor on the zoom is damaged.
Check whether the related circuit of the motor drive board on the zoom is damage. - BaseFan1/2 Start Err
Check whether the fan is not running.
Check whether the fan leads are installed in place or disconnected.
Check whether the fan is damaged.
Check whether there are obstacles in the fan operating range. - HeadFan1/2/3/4/5/6/7 Start Err
Check whether the fan is not running.
Check whether the fan leads are installed in place or disconnected.
Check whether the fan is damaged.
Check whether there are obstacles in the fan operating range. - Led Temp. Error
Check whether the temperature detecting board is normal.
Check whether the components of the temperature detecting board are damaged.
Check whether the lead on the temperature detecting board is installed in place or disconnected. - Led Temp. Too High
Check if the fan is working properly.
Check if the fan speed is normal.
Check if the ambient temperature is abnormal. - LED Too Hot Off
When the fixture temperature reaches 85℃, it will automatically turn off to protect the fixture.
The position of each fan of the fixture:

Troubleshooting
Following are a few common problems that may occur during operation. Here are some
suggestions for troubleshooting:
A. The unit does not work, no light and the fan does not work
- Check the connected power and main fuse.
- Measure the voltage.
- Check the power indicator to see whether it can be lit up or not.
B. Not responding to the DMX controller
- Check whether the DMX connectors and the DMX cables are connected correctly.
- Check whether the DMX address is correctly set.
- If the intermittent DMX signal problem occurs, check whether the XLR socket and the signal cable are well connected.
- Try it with another DMX controller.
- Check whether the DMX cables run near or alongside to the high-voltage cables, which may damage or interfere with the signal circuit.
C. One of the channels is not working well
- The stepper motor might be damaged or the cable connected to the PCB might be broken.
- The motor’s drive IC on the PCB might be out of condition.
Fixture Cleaning
It is absolutely essential that the fixture is kept clean to ensure the maximum light output and allow the fixture to function reliably throughout its life. The fixture must be cleaned regularly to avoid dust, dirt and smoke-fluid residues building up on or within the fixture. The cleaning frequency depends on the application environment. Clean the fixture immediately if the dust enters it to avoid damage to the optical lens due to excessive dust.
- A soft lint-free cloth moistened with any good glass cleaning fluid is recommended, under no circumstances should solvents be used.
- Always dry the parts carefully.
- Clean the external optical lens at least every 20 days and the internal optical lens every 30 days.