Contents
Chromebook Plus 514 Laptops

Acer Chromebook Plus 514
Acer Chromebook Plus Enterprise 514
USER’S MANUAL
Important
This manual contains proprietary information that is protected by copyright laws. The information contained in this manual is subject to change without notice. Images provided herein are for reference only and may contain information or features that do not apply to your computer. Acer Group shall not be liable for technical or editorial errors or omissions contained in this manual.
Register your Acer product
Go to www.acer.com/register-product, and sign in or sign up your Acer ID to register your product.
Once it is done, you can review it under “My Products” page.
Model number: ________________________________
Serial number: _________________________________
Date of purchase: ______________________________
Place of purchase: ______________________________
Google and Google Play are trademarks of Google LLC.
The terms HDMI and HDMI High-Definition Multimedia Interface, and the HDMI Logo are trademarks or registered trademarks of HDMI Licensing Administrator, Inc. in the United States and other countries.
GETTING STARTED
Turn on your Chromebook
On the Chromebook, press the power button. A “Welcome” screen will appear when the Chromebook first boots up.
Select your language settings
Use the “Language” drop-down list to choose your default language setting. If there is more than one way to type in your language, you may be prompted to select a keyboard input method as well.
Connect to a network
Select a network from the “Connect to network” list to connect to the Internet. If network access is protected, you will need an access password to connect to it.
Accept the Terms of Service
Once connected to a network, accept the Terms of Service. Your Chromebook will then download any available system updates, so you automatically get the latest ChromeOS features.
First-time sign-in
Create a new Google Account
You can create a new Google Account if you don’t already have one.
Select Create a Google Account to set up a new account. A Google Account gives you access to useful web services developed by Google, such as Gmail, Google Drive, and Google Calendar.
Browse as a guest
You can also use the Chromebook without a Google Account by selecting Browse as a Guest.
YOUR ACER CHROMEBOOK TOUR
Front view

| # | Icon | Item | Description |
| 1 | Microphone | Internal microphone for sound recording. | |
| 2 | Webcam shutter | Slide the shutter to the left to cover the webcam. Slide right to open it. | |
| 3 | Webcam | Web camera for video communication. A light next to the webcam indicates that the webcam is active. |
|
| 4 | Screen | Displays Chromebook output, supports touch or non-touch option. |
Keyboard view

| # | Icon | Item | Description |
| 1 | Power button | Turns the Chromebook on and off. | |
| 2 | Keyboard | For entering data into your Chromebook. | |
| 3 | Speakers | Deliver stereo audio output. | |
| 4 | Touchpad / click button | Touch-sensitive pointing device which functions like a Chromebook mouse. Pressing down anywhere on the pad functions like the left button of a mouse. Pressing down anywhere with two fingers functions like the right button of a mouse. |
Function keys
The Chromebook uses function keys or key combinations to access some hardware and software controls, such as screen brightness and volume. The dedicated function keys each have a specific function.
| Icon | Function | Description |
![]() |
Previous | Go to the previous page. |
![]() |
Reload | Reload the current page. |
![]() |
Full-screen | Open the page in full-screen mode. |
| Next window | Switch to the next window. | |
![]() |
Screenshot | Takes screenshot. |
![]() |
Brightness down | Decreases the screen brightness. |
![]() |
Brightness up | Increases the screen brightness. |
![]() |
Mute | Turns off audio output. |
![]() |
Volume down | Decreases the volume. |
![]() |
Volume up | Increases the volume. |
![]() |
Launcher | Launch the Apps panel. |
Common keyboard shortcuts
You can use shortcuts to complete some tasks more quickly.
| Keyboard shortcuts | Description |
| Ctrl + |
Takes screenshot. |
Alt +![]() |
Toggles caps lock. |
Alt +![]() |
Projects your screen. |
Note: For a complete list of keyboard shortcuts, press Ctrl + Alt + /
Touchpad
The built-in touchpad is a pointing device that senses movement on its surface. This means the cursor responds as you move your fingers across the surface of the touchpad.
| Action | Gesture |
| Click | Press down on any part of the touchpad. |
| Two-finger tap(or alt-click) | Tapping the touchpad with two fingers or pressing (and holding) Alt on the keyboard and tapping the touchpad with one finger both equal a “right-click” on a Chromebook mouse. |
| Two-finger swipe | Place two fingers on the touchpad and move them up and down to scroll vertically, left and right to scroll horizontally. |
| Drag and drop | Select the item you want to move with one finger. With a second finger, move the item. Release both fingers to drop the item. (This gesture works for files, not windows or icons.) |
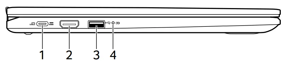
Left view

| # | Icon | Item | Description |
| 1 | ![]() |
USB Type-C port with DC-in |
Connects to the provided USB Type-C power adapter and to USB devices with a USB Type-C connector. Supports DisplayPort ™ over USB-C ™ . |
| 2 | ![]() |
HDMI port | Supports high-definition digital video connections. |
| 3 | ![]() |
USB port | Connects to USB devices. |
| 4 | ![]() |
Battery indicator | Indicates the Chromebook’s battery status. Charging: The light shows amber when the battery is charging. Fully charged: The light shows blue when in AC mode. |
USB Type-A information
- USB 3.2 Gen 1 compatible ports are blue.
- Compatible with USB 3.2 Gen 1 and earlier devices.
- For optimal performance, use USB 3.2 Gen 1-certified devices.
- Defined by the USB 3.2 Gen 1 specification (SuperSpeed USB).
USB Type-C information
- USB 3.2 Gen 1 with transfer speeds up to 5 Gbps.
- Supports DisplayPort ™ audio/video output.
- Delivers up to 3 A at 5 V DC for USB charging.
- DC-in: requires power adapter or power source providing 45 W or 65 W at 5~20 V.
For optimal performance, please use a certified Acer power adapter or USB Power Delivery device.
Right view

| # | Icon | Item | Description |
| 1 | ![]() |
Headset/speaker jack | Connects to audio devices (e.g., speakers, headphones), or a headset with microphone. |
| 2 | ![]() |
USB Type-C port with DC-in | Connects to the provided USB Type-C power adapter and to USB devices with a USB Type-C connector. Supports DisplayPort ™ over USB-C ™ . |
| 3 | ![]() |
Kensington lock slot | Connects to a Kensington-compatible security lock. |
Bottom view

| # | Icon | Item | Description |
| 1 | Ventilation and cooling fan | Allows the Chromebook to stay cool. Do not cover or obstruct theopenings. |
FREQUENTLY ASKED QUESTIONS
| Question | Answer |
| What software workson a Chromebook? | Chromebooks use apps from the Google Play Store and on the web. There are apps to be productive, get creative, enjoy movies and shows, play games and more. |
| How do I get moreapps? | You can get more apps from the Google Play Store |
| Can I use Microsoft Office software? | Chromebooks work with Microsoft Office. ® Whether it’s Word, Excel ® or PowerPoint , you can easily find the apps on the web. |
| Where can I find myfiles? | All your files are stored in the Files app Find the app by clicking the Launcher icon and searching “Files”. |
| How do I transfer mylocal files? | Transfer your local files using a compatible storage device. Your Chromebook works with most external storage devices (e.g.: USB thumb drives, removable hard drives). You can also upload your files, photos, and videos to Google Drive. After setting up your Chromebook with your Google Account, you’ll be able to access your files on Drive. |
| Why does my Chromebook need my Google Accountinformation? | You’ll use your Google Account to sign in to your Chromebook. It is the same account you use for Google services such as Gmail and Drive. Your Chromebook uses your account information to automatically sign you into apps and services. |
| How do I set this upfor my child? | If you want to set up parental controls for your child, it’s important that you sign in using your child’s personal Google Account. If they don’t already have one, you can create one during the sign-in process on your Chromebook. You will be able to add your child’s school account after you complete device onboarding. |
Get help or more information
| For information on: | Refer to: |
| Chromebook Help | Open the Explore app on your Chromebook. |
| ChromeOS | google.com/support/chromebook/ |
© 2023. All Rights Reserved.
Acer Chromebook Plus 514 / Acer Chromebook Plus Enterprise 514
Covers: CB514-3H / CB514-3HT / CBE574-1 / CBE574-1T
This revision: July 2023
















on your Chromebook.