LCD-300B
LCD TV Mount
Instructions
Contents
LCD-300B LCD TV Mount
LCD unit must be fitted by professional person.
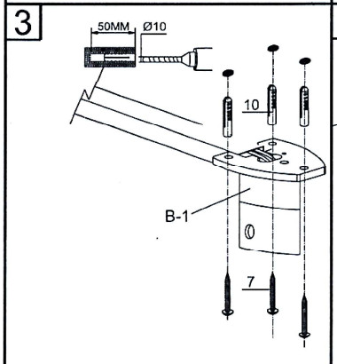
LCD300B EXPLODE DRAWING

| 32 | Bolt-a.Boit-b | 4 |
| 31 | Scew | 4 |
| 30 | Connector Axis | 1 |
| 29 | Fixed Plate | 1 |
| 28 | Bolt Cover | 3 |
| 27 | Arm Nul | 3 |
| 26 | Arc Plate | 4 |
| 25 | Nut | 1 |
| 24 | Spring Plate | 2 |
| 23 | Flate ptate | 2 |
| 22 | Connector cover for Rotate Axis | 1 |
| 21 | Rotate Axis | 1 |
| 20 | Fiat plate for Rolste Axis | 3 |
| 19 | Plastic Flat plate ring | 4 |
| 18 | Connector arm2 | 1 |
| 17 | Plug2 | 1 |
| 16 | Gafie2 | 1 |
| 15 | tntemat tube | 1 |
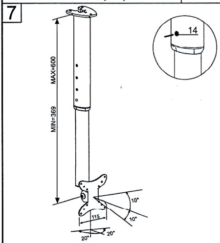
| 14 | djusted Pin | 1 |
| 13 | Adjusted Spring | 1 |
| 12 | AmNutl | 2 |
| 11 | Flat Head Screw2 | 2 |
| 10 | Concrete Anchor bolt | 3 |
| 9 | Flat Head Screw! | 1 |
| 8 | Wall plete | 1 |
| 7 | Flat Head Wood Screw | 3 |
| 6 | Connector arm1 | 1 |
| 5 | BaMet | 1 |
| 4 | Outer tube | 1 |
| 3 | plug! | 4 |
| 2 | plastic part of outer tube | 1 |
| 1 | plastic part of intomal tube | 2 |
WARNING:
- The wall installed LCD bracket must be firmness and tightness,such as concrete wall,solid brick wall and solid wood wall.Do not install on hollow and floppy walls for fear security accidents.
- Tighten screw so that wall plate is firmly attached, but do not overtighten.Overtightening can damage the screws, greatly reducing their holding power
- Do not remove screw or loosen screw until it is no longer engaged with the mount.Doing so many cause the screen to fall.
- For security option,tighten all the screws with security allen wrench.
LCD300B SPARE PART LIST

INSTALLATION SPECIFICATION

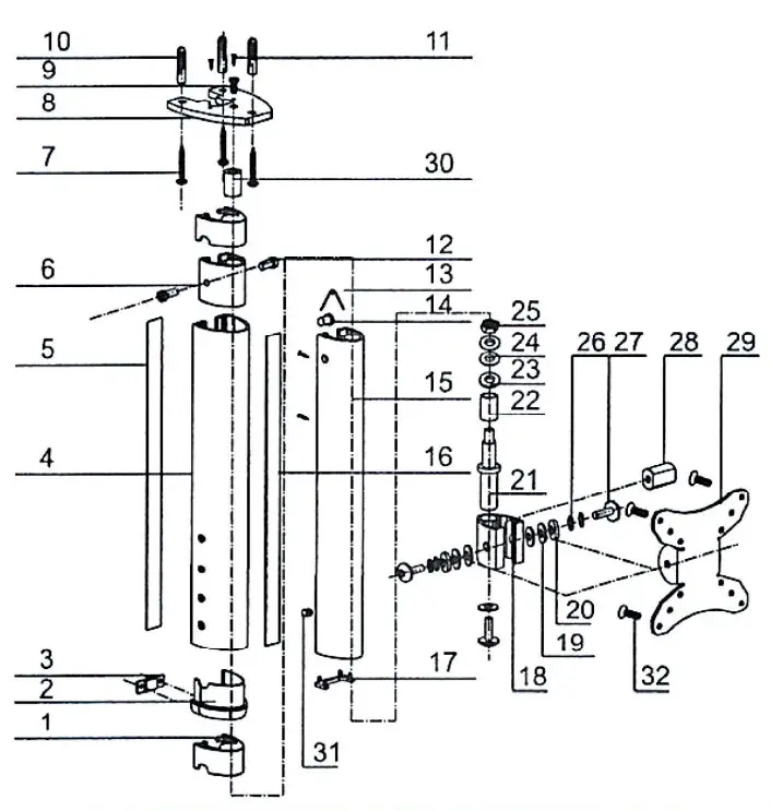
- Disassemble LCD bracket into A and B subassembly as drawing by alien wrenh.

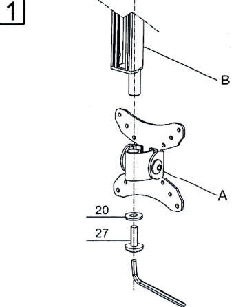
- As per drawing setted Subassembly A on LCD by the bolts 32.

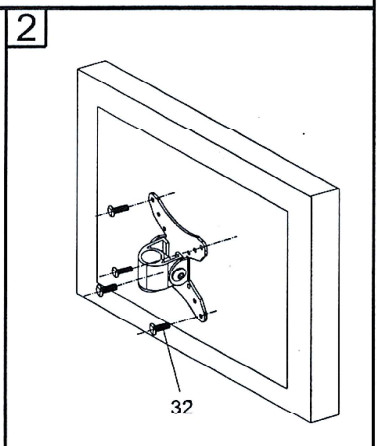
- According to the drawing, connecting line box with Subassembly B-1(wall plate).
- Making marks for drilling holes on top wall.
- Drill the holes as per drawing.
- Fixing Subassembly B-1 on top wall by part 7 & part 10.

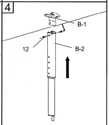
- According to the drawing, fixing Subassembly B-2 on Subassembly B-1 by part 12.

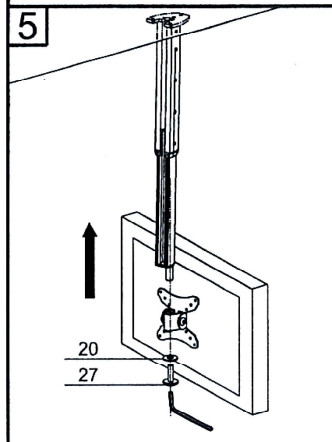
- As per drawing fixed Subassembly A with LCD on the Subassembly B by alien wrench.

- As per drawing, placing all lines into line box of Subassembly B-2.
- Then setting part 5 & part 6 on the Subassembly B-2 and fixing part 3 & part 17 on it.

- Adjusting part 14 to reach the height which user wanted according to the drawing.
- Security Attention: the maximum adjustedangle must be same as showing on the drawing, otherwise, there’s will be very dangerous.
