Contents
Fitcare HRM812S Heart Rate Monitor

Product Information
Specifications:
- Dimensions: 70mm x 100mm
- Product Type: Heart Rate Monitor
- Power Source: CR2032 3V battery (lasts approximately one year)
- Compatibility: ANT+ & BLE Sports System, Bluetooth 4.0 LE System (iOS 9.0+ and Android 4.3+)
FAQ
- Q: Is the heart rate monitor waterproof?
- A: The heart rate monitor is water-resistant but not waterproof. Avoid submerging it in water.
- Q: How do I clean the chest strap?
- A: Use a damp cloth with mild soap to clean the chest strap. Do not soak it or use harsh chemicals.
Thank you for using this product as your sports fitness product of choice. The product is a sensor type heart rate monitor that will track your real-time heart rate and send heart rate data to the Smart phone.
IMPORTANT: This product is for sport purposes only and it is not meant to replace any medical advice.
This manual contains important safety and care information, and provides step by step instructions for using this product. Read it thoroughly, and keep the manual in a safe place in case you need to refer to it later.
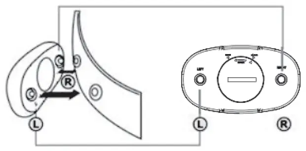
DEVICE OVERVIEW
Heart rate Transmitter
Front View

Back View

- Battery Door
- Left & Right wearing directions
Heat rate chest strap

-
- 3. Electrodes
- 4. Fastening buttons
Smart phone (Sold separately)
GETTING STARTED
Unpacking the product
In this box, you will find:
- Heart rate transmitter
- Adjustable elastic belt
- CR2032 battery – already installed
- User manual
To wear chest strap

- Wet the conductive pads on the rear of the chest belt with a few drops of water, Saliva or conductive gel to ensure solid contact.
- Strap the heart rate chest belt across your chest. To ensure an accurate heart rate signal, adjust the strap until the belt fits snugly below your (chest) pectoral muscles.

- Attach the transmitter to the strap, marked ‘L’ towards left.
- WARNING: Inaccurate heart rate data will be detected if the device is worn in wrong directions.
- To run software on smart phone, receive the heart rate data.
WARNING
- Cleaning of transmitter and strap in a washing machine or dryer is strongly prohibited.
- Before hand washing the device, detach the transmitter of Heart Rate Monitor where the electrodes are located, This part is not washable.
- While washing the straps, make sure water is no higher than 30℃.
- Ironing, bleaching or heating is prohibited
BATTERIES
The transmitter use CR2 032 3 V battery. The battery already installed. The battery typically last one year.

- Using a coin, twist the battery door counter clockwise until it clicks out of place.
- Remove the old battery and insert the new battery with the +side upwards.
- Replace the battery door by twisting it clockwise until it is firmly in place.
IMPORTANT
- Non-rechargeable and rechargeable batteries must be disposed of properly. For this purpose, special containers are provided for battery disposal at communal collection centers.
- Batteries are extremely dangerous when swallowed! Therefore, keep batteries and small articles away from children.
- The batteries supplied must not be recharged, reactivated by any other means, dismantled, put into fire or short-circuited.
DATA TRANSMISSION
ANT+&BLE Sports System is supported to achieve reliable data transmission by this HRM.
For ANT+ System:
- Pairing
If the HRM is not paired with the ANT+ compatible receiver, it has to be activated and paired.- Ensure that the HRM battery is not drained. Replace the battery if needed.
- Ensure there are no other ANT+ transmitting devices within 50 m range, other devices may affect pairing.
Ready to use
- If your device is successfully paired, it’ s ready for use.
For Bluetooth 4.0 LE System:
- This device is a Bluetooth Smart device, compatible and applicable with many lOS devices, including:
iOS 9.0 version and above, iphone 5 and above.
Any Bluetooth 4.0 enabled Android device with Android 4.3 and above.
FCC STATEMENT
NOTE: This equipment has been tested and found to comply with the limits for a Class B digital device, pursuant to part 15 of the FCC Rules. These limits are designed to provide reasonable protection against harmful interference in a residential installation. This equipment generates, uses and can radiate radio frequency energy and, if not installed and used in accordance with the instructions, may cause harmful interference to radio communications. However, there is no guarantee that interference will not occur in a particular installation. If this equipment does cause harmful interference to radio or television reception, which can be determined by turning the equipment off and on, the user is encouraged to try to correct the interference by one or more of the following measures:
- Reorient or relocate the receiving antenna.
- Increase the separation between the equipment and receiver.
- Connect the equipment into an outlet on a circuit different from that to which the receiver is connected.
- Consult the dealer or an experienced radio/TV technician for help
Changes or modifications not expressly approved by the party responsible for compliance could void the user’s authority to operate the equipment.
This device complies with Part 15 of the FCC Rules. Operation is subject to the following two conditions:
- this device may not cause harmful interference
- this device must accept any interference received, including interference that may cause undesired operation.
