Contents
THE SPY STORE SP-CM-910 1080P HD Wi-Fi Camera Clock

Wi-Fi camera function:
- Download Free App <TinyCam Pro> from App Store or Google Play.
Tips:Please allow “TinyCam Pro” to access the smartphone location while using the APP. - Take off back cover and pull out the battery insulator –> Insert the micro SD card –> Press the ON/OFF key, wait for 1 minute
(Power indicator and Wi-Fi indicator is flashing regularly.);
Tips: After above operation, please put on back cover and plug power adapter for long time use. - Enter smartphone settings -> Search and connect Wi-Fi named: AIS ……,wait till phone status bar appear Wi-Fi symbol ‘
‘; - Enter APP, tap below “®” icon –> LAN search-> Tap the found device -> Tap Add -> Camera Online then;
Tips:This step = P2P mode, can check video locally when without Wi-Fi. - Press 0 icon on the right corner of camera -> WiFi Config ->Select local Wi-Fi (SSID) -> Input password -> Tap Next;
- Quit APP , wait 30 seconds (device restart automatically)and connected with set Wi-Fi(Wi-Fi indicator is solid);
- Enter APP to check live video locally or remotely anywhere.
P.S.: Contact local dealer for tutorial video setting up.

Overview
These two fashion-designed tiny clock,local temperature and humidity info which auto-sync from the internet once connected with Wi-Fi; most important, it is integrated with a powerful 1080p smart invisible Wi-Fi
the camera comes with 6 meters powerful night vision.
First, it can be used for watching live streaming video day and night , or taking photo and video by APP in a smart-phone remotely after
Wi-Fi connected; Also, it supports Point to Point (P2P) function,
easily connected for local live video without Wi-Fi.
Second, it also support motion detect alarm function, cycle recording and work when charging.
Usages: Nanny camera, Home/ Shop/ Office/ Warehouse surveillance camera ….. .
Warning: ” illegal use is not allowed! Or, there will be consequences to bear!”
In the box
- 1 x Camera Unit
- 1 x 5V2A power adapter
- 1 x Micro SD Card Reader
- 1 x USB Cable
- 1 x User Manual

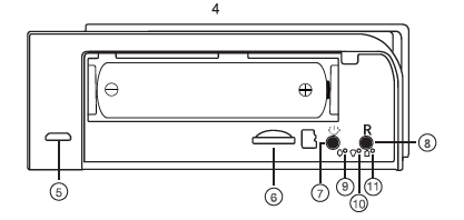
The product structure of Tiny Clock 1
- Camera
- Display
- Invisible night vision leds (furn ON/OFF Automatically)
- Device UID & QR code

- @ USB port
- Micro SD card slot
- ON/OFF Key
- Reset Key
- Power indicator
- wi-Fi indicator
- charging indicator
Clock part of Tiny Clock 1
- Short press = Centigrade degree to Fahrenheit
- Long press = Turn off/ on display 12h / 24h
- Time set
- Short press = Snooze
- Long press = Turn off clock setting
The product structure of Tiny Clock 2

- Camera
- Display
- Invisible night vision leds (furn ON/OFF Automatically)
- Device UID & QR code

- support
- Micro SD card slot
- ON/OFF Key
- Reset Key
- Power indicator
- Wi-Fi indicator
- Charging indicator
Clock part of Tiny Clock 1
- Time/Alarm set
- Hour/Month set / 12 vs 24Hour
- , Minute/Day set / 12 vs 24Hour
- The alarm on/off
- Turn off/on display
Tips: Local Time and Temperature info will be updated automatically every 2 hours after connecting to local Wi-Fi.
WI-FI Turn off/on display
- Step1: Download and install APP
Scan below QR code or search and download free APP named <TinyCam Pro> in Apple APP store, Google play or Electronic Market, and install it;
Tips: Local Time and Temperature info will be updated automatically every 2 hours after connecting to local Wi-Fi.
- Step 2: Take off back cover and pull out the battery insulator –> Insert micro SD card –> Press the ON/OFF key, wait for 1 minute (Power indicator and Wi-Fi indicator is flashing regularly.);
Tips: After above operation, please put on back cover and plug power adapter for long time use.
- Step 3: Connect Wi-Fi
- Open smartphone settings, search and connect the device’s wireless signal named “AIS …… “,wait Wi-Fi connection, and phone status bar appear Wi-Fi symbol.

- Enter APP, tap below”(
)” icon –> LAN search->Tap the found device -> Tap Add -> Camera Online then; 
Tips: This step= P2P mode, can check video locally when without Wi-Fi. - Tap
icon on the right corner of camera -> Wi-Fi Config-> Select local Wi-Fi (SSID) -> Input password -> Tap Next;
- Quit APP , wait 30 seconds (device restart automatically)and connected with set Wi-Fi(Wi-Fi indicator is solid) ;
- Enter APP and check live video locally or remotely anywhere.
- Open smartphone settings, search and connect the device’s wireless signal named “AIS …… “,wait Wi-Fi connection, and phone status bar appear Wi-Fi symbol.
Set camera name and private code
Set name: Tap the
after the camera, Input a new name(like Office … ) in Device Name;
Set new password: Tap the
after the camera, Tap Device Password –> Old password = 888888. 
APP introduction:

Tips:
- Please confirm phone setting has allowed TinyCam Pro App to access the location services;
- A TF card(Micro SD card) must be inserted for saving alerts pictures.


- Share the camera with others by QR code
Wi-Fi Config: Set the camera to connect to local Wi-Fi - Alarm Config: Set motion detection sensitivity
- Micro SD Card Record Config: Set SD card record mode I Resolution /File length …
- Working Indicator: To turn on/off the device’s working led
- Firmware Update: Update the device’s latest firmware by app
Specification

FAQ
- Q: Time display is not stable, always blinking?
A: It’s with low battery, please charge it. - Q: Can’t get the device’s Wi-Fi signal?
A:Press the reset key for 10 seconds and wait 1 minute. - Q: Live video not smooth and clear?
A: Select a suitable resolution according to the real-time network environment. - Q: Motion detect set and alarm?
- Set motion detect sensitivity in App Setting > Alarm Config;
- When motion is detected, the camera will push an alarm message to your phone and take one picture for checking in the APP [ Page 16 -Alert notification]. {A micro sd card MUST be inserted for saving alarm pictures)
- Q: Micro SD card instruction?
A: 1). Set motion detect sensitivity in App Setting > Alarm Config;
2). Once device is connected to Wi-Fi, can set SD management in App Setting > Micro SD Card Config. - Q: How to play micro SD card video?
- Use a card reader to read and play;
- Use APP to play back [ Page 16 – TF card recorded files];
- Playback in good speed network.
- Q: Forget the camera password, or item goes abnormal?
A: Turn on the camera and wait for 1 minute, press reset key for around 1 O second till back indicators off to restore factory default. Camera restarts and get ready again in 1 minute. - Q: Any operation video demo of the camera for setting up?
A: Please contact local dealer for video guide.
